忍者ブログ

MOMOとMAMAとウエスト症候群

ウエスト症候群(点頭てんかん)闘病中の“ももぞう”と、福祉事業に従事する“momomama”の、ブログを中心とした情報サイトです。 闘病のこと、心理学のこと、その他日常の徒然な事をのんびり綴ります。

ジェットコースター

×

[PR]上記の広告は3ヶ月以上新規記事投稿のないブログに表示されています。新しい記事を書く事で広告が消えます。

コメント

1. 無題

先週モニタリングの為検査結果をしてました。検査結果を聞いて帰る為25日まで滞在してました。。
5月以降に脳梁離断術をする事になりました‼頭だけに不安ですが頑張りたいと思います。

Re:無題

明日香mamaさま

コメントありがとうございます!お会いできませんでしたね~、うちは21日までおりました。また機会あれば声かけてくださいね!

離断決まったんですね。心配な事たくさんあると思いますが、しっかり納得して手術に挑めること祈っております!
手術は怖かったですが、ももぞうは受けて良かったと思っています。お子さん(お子さんのお名前が明日香さん、で合ってますか?)も良い転機になりますように!

ただいまコメントを受けつけておりません。

ジェットコースター

こんばんは。
ビリーズブー○キャンプのやりすぎで筋肉痛のmomomamaです。

長崎はACTH中は個室なんでね。やり放題ですよ。
まあたまにね?看護師さんに見られるっていうリスクもあるけどね?
てかもう何度か見られてるし、今更ね?

(ヒトはこうやって恥の概念が薄まりオバちゃんになっていくんだなと感じました)


***


生後5か月で突然てんかん発症、あれよあれよという間にウエスト症候群になった、我が家のももぞうさん。

その後すぐに大阪で小児神経内科のある病院に入院、ACTH治療。
徐波と部分発作は残ったものの、スパズムとヒプスアリスミアは消滅。

3か月ほどで再発し、投薬調整するも悪化。再発から3か月で長崎へ。

長崎で脳梁離断のオペを受けて、正常脳波に。

6か月で再発(点頭発作は再発疑い、部分発作は再発)。

その後投薬調整などで経過を見ていましたが、最近は点頭発作も『いかにも』な感じになってきたので、これはもう再発確定だろうなと思っていました。


今回長崎に来て、やはり点頭発作も再発。
というか、スパズム(点頭発作)もヒプスアリスミアもあり、ごりごりの『ウエスト症候群』再発でした。

そして予想外のACTH開始…が、前回のブログまでです。

(※更新が少なすぎて皆さんお忘れなのではと思いまして、改めてあらすじ的なやつを…笑)


***


思い返せばいつも、まるでジェットコースターのような日々でした。

乳幼児健診でお医者さんが笑う位に元気いっぱいのビックベビーだった、ももぞうさん。
母は、とっても幸せでした。優秀な人間にならなくても良いから、健やかではつらつとした女性に育って欲しいと思っていました。

それなのに、ある日突然、聞いたこともないような重篤な病気を発症。
目の前で何度も呼吸が止まる我が子と、初めての入院、副作用の強いACTH治療。

幸せの絶頂からたたき落とされたような気持ち。やり場のない怒り。

ACTH後は見違えるような元気な姿と、また一気に伸びた発達。
元気に遊ぶ笑顔のももぞうに、心の底からホッとしました。


再発した時の、絶望感。

治療の甲斐もなくどんどん悪化し、無反応な人形のようになってしまった、ももぞうの姿。
初めて長崎に来た時の、思い詰めた気持ち。すがるように先生にももぞうのことをお願いしたのを覚えています。

オペ後にはまた、別人のように発達が伸びました。
病室で『もう大丈夫!ここまで綺麗な脳波になって驚いたよ。発作のことはもう心配しなくていいよ!』と先生に言われ、大部屋でしたが耐えられず号泣しました。


すぐにパパに電話で伝えたら、パパも泣いていました。
恐らく、ももぞうの発症後に夫婦で大泣きしたのは、この時が初めてだったと思います。
ずっと張りつめていたものが切れたような気がしました。

(それでもそこから再発したのは、ももぞうの発作が他の人に比べていかにしつこいかということだと思います。そもそも半年再発しなかった人はほぼ再発しないそうで、半年後に再発したももぞうは長崎でもレアケース(悪い意味で)なんだと思います)


その後再発はしましたが、オペのお陰で発作は小さく、発達も少しずつですが伸びていました。
なので今回、想像していたよりももぞうの脳波が悪く、驚きました。
しかも先生の口から『レノックス・ガスト―症候群への移行の懸念』を聞いてしまい、一気に気持ちは奈落の底へ。
(まだ兆候が顕著というわけではなく、移行しないようにしないとね~という程度です)

ももぞうジェットコースターは本当に勾配が激しく、私の気持ちは天に昇ったり奈落の底に落ちたり、まだ出産してからたった3年なのに、それはそれはもう大忙しです。笑



でも、ももぞうコースターの凄い所は、ちゃんと上がるんですよね。上げてくれるんです。



ももぞうは、発作が制御されたり脳波が綺麗になると、本当に驚くほど発達が伸びます。
原因も分からず発作も投薬調整への抵抗が強いのに、発作のない時期を何度も経験させてくれました。

そしてまた、今回もやってくれました。




ACTH3日目で、発作が半減。4日目でゼロ。
その後はありません。

副作用も、眼圧が少し上がっていることと、ムーンフェイスや気分の高揚が出ていますが、重篤ではありません。

脳波もこの通り。



ACTH前。ぐっしゃぐしゃです。






ACTH開始から一週間。




OH…!!
機械が違うので少し表示サイズが違いますが、振幅の違いは明らかです。




そして、何より驚いたのが、発達。

発作の消えたACTH4日目頃から、毎日のように出来ることが増えています。





集中してDVDを見たり。
(病棟で借りた寄贈品のアンパンマンDVDに夢中。寄贈してくださった方、ありがとうございます!!)





ズリバイもぐんぐん進みます。
(セラムンのポーズに見える。こんなセラムンなら母ちゃんもお仕置きされたい。←)





最近では副作用で少し顔が丸くなってます。
相変わらずDVD大好き。
他のことをして遊んでいても、DVDを付けるとズリバイでプレイヤーの前まで移動してきます。






久々にボールで遊ぶ姿も見られました!!今では毎日のように遊んでいます。
これ、地味に感動しました…うさぎとフワフワ(ぬいぐるみやタオル)にしか興味なかったのに…!!

この姿を見て、母はネットで新しいおもちゃを片っ端からポチりまくりました。
週明けから続々と届きます。笑
新しいお気に入りが一つでも増えると良いな~!!






牛乳も、自分で飲めます。前は本当に飲みたい時だけパックを取られないよう抑えて持つのがやっとでしたが、発作抑制後はパックを見せただけで手を伸ばして母から奪い取り、自分で持つ→口まで運ぶ→ストローを咥えてごくごく飲む、まで出来るようになりました。

200mlのパックですが、満タンで重くても、ちゃんと自分で持って飲めます。
まだぎこちなくてたまに膝の上に落としますが、それも自分で拾ってまた飲んでいます。



そして何より驚いたのが、スプーン!!!!


『はいどーぞ~』とスプーンを手元に持っていくと…



ももぞう『ごはんでしゅ!!』





ももぞう『食べるでしゅよ!!』
(スプーンの柄をガシッと掴む)




ももぞう『あ~~~~~ん♡』





…もぐもぐ。



これ、すごくないですか?!!!!
今まで内向きというか、うさぎとぬいぐるみにしか興味を示さなかったももぞうが…。
色々なものに興味を示し、手を伸ばし、ごはんも自分で食べようとする。
(副作用での食欲増進も手助けとなったんだと思いますが)

ACTH…すげーよ…。


ボールもしかり、食事もしかりですが、今は目の前に『どうぞ~』と見せると、何にでも手を伸ばしてきて、まずはバクッと口に入れて確認してます。

大好きなグミもまずは見付けたら大慌てで外袋をパクリ(←食べたくてたまらない。笑)、リハの先生がくれたトッポはガシッと掴んでから、ストローと間違えてチューチュー吸ってました。笑

スプーンは先の丸いところから無限でごはんが出てくると思ってるのか、食べたあとの空のスプーンも何度も口に入れて確かめては、あれ?という顔をします。
そういうちょっとおバカだけど好奇心旺盛でチャレンジャーなももぞうが、母は可愛くてたまりません。笑



今回のACTH、コートロシンさんは増量せず、最少量・最短期間で終了できそうです。
脳梁離断を受けた人は投薬やACTHの効果が出やすいと聞いていましたが、まさかここまでとは思わず、すごく驚きました。

そして例に漏れずうちもおしっこの量が増えて、オムツをしているにも関わらず、まるでパンツトレーニング中の子のような滝のようなお漏らしをします。。
(今日、院内の売店で尿取りパッドを買ってきました)




ももぞうのことで、落ち込むことも、辛いことも沢山あるけど。
私をとんでもなく幸せな気持ちにしてくれるのも、ももぞうです。

ももぞう、ありがとう。頑張ってくれて、たくさん笑ってくれて、ありがとう。



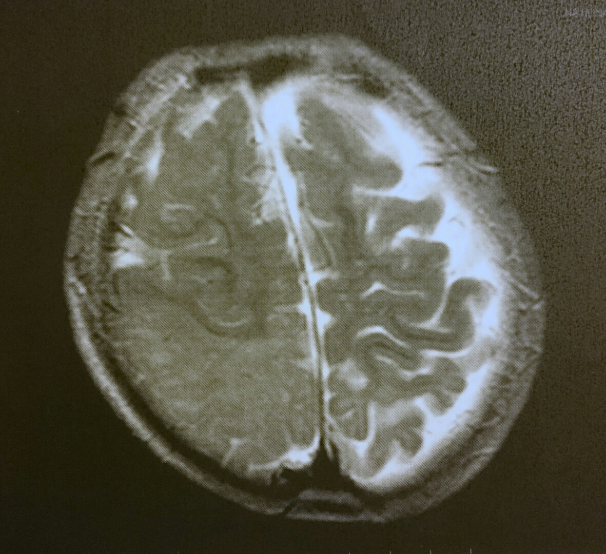
そして今回の入院での大きな成果は、もう一つありました。



画像検査の結果、右脳の後頭部(写真左側の下半分)に、髄鞘化の異常が見つかりました。
(左下半分だけ色が薄く、皺の入り込みも少ないのが見てとれます)

ももぞうは多焦点で、外科治療には慎重にならなければならず、今までの検査では脳波所見と各種画像検査の結果が完全一致しきらず、外科治療には踏み切れませんでした。
(多焦点の場合、全てを取りきると失う脳機能が多すぎるので、より大きな焦点を優先順位をつけて切除する必要があり、その見極めが難しいそうです)

ですが、今回の検査では脳がある程度成長してきたことで顕著な髄鞘化異常が目視でき、この異常はももぞうの脳波所見(発症時からずっと、一番大きな脳波異常は右後頭部にあります)と一致します。

もしまた再発した場合、今度は外科治療に踏み切れる可能性が大いにあるということです。

ずっと目標にしてきた、焦点切除の手術。慎重にならなければいけないのは変わりませんが、また治療方法の選択肢が増えたことで、私たち両親の気持ちがどれだけ楽になるか…。

再発しないのが一番ですが、再発を恐れるばかりの日々を送るのではなく、ももぞうをしっかり見つめて、常にももぞうにとって最良の治療や療育、生活ができるよう、状況判断をしっかり出来るように心構えしておきたいと思います。



私が長崎を素晴らしいと思うのは、内科医と外科医が一緒になってももぞうを診てくれることです。

たまにドラマなんかでは、外科医と内科医が『内科医は取り返しがつかなくなってから外科に患者をまわしてくる!』とか『外科なんて切ればいいだけだろ!!』とか喧嘩してますが。
内科医は内科の方法で、外科医は外科の方法で、自分の思う最良の治療をしようとした結果、それぞれの提案する治療法が違う、ってのが現状で。

和食の達人と洋食の達人が同じ食材で至高のメニューを作ったら違うものになる、的なね(例えが軽いわ)。

内科と外科を別々に受診したら、患者はそれぞれの提案の違いに戸惑うし、どちらを信じれば良いか分からなくなると思うんです。

ですが、長崎では内科医と外科医がカンファレンスで一緒になって患者の治療方針を考えてくれています。
しかも長崎の内科医(←しつこいようですが本当にデラベッピン)が。外科に詳しいのなんの…。

外科の先生はこう言ってるよ、内科医としてはこう思うよ、という話し方をしてくださるので、すごく分かりやすいし、家族が意思決定しやすいんですよね。

しかも、私が正しい!!長崎が正しい!!と押し付けるのではなく、親の意思を尊重してくれます。

結論:主治医ラブ



…ということで、また今回も大変有意義な長崎入院でした。
大阪の主治医(これまたイケメン)も喜んでくれると思うので、報告するのが楽しみです!!


ACTHはもう暫く期間が残っているので、残りの期間、最後まで感染症などにならないよう気を抜かずに過ごしたいと思います。



***



最後に。2年前、一緒に脳梁離断を受けた、NNR三姉妹のお二人。






ひーたん(右)は、発作止まってます。
まあやちゃん(左)も、発作はあるものの頻度は少ないようです。

(オペ後に、ひーたんは投薬調整、まあやちゃんはVNSと投薬調整を受けました)

みんな髪も伸びて、成長して、笑顔で会えることが本当に嬉しいです。



ブログを読んでくださってるみなさんも、明日も笑顔あふれる一日となりますように!
今回も長くなってしまいました…。文章を纏める能力が欲しい。


最後まで読んでくださって、ありがとうございます。







   ↓戦友たちのBlogランキング!  ↓

 ♥♡応援 Click お願いします♡♥
    にほんブログ村 病気ブログ てんかんへ
     にほんブログ村


   にほんブログ村 子育てブログ 障がい児育児へ
    にほんブログ村

いつも応援ぽちぽち!ありがとうございます♡
押せば押すほど、momomamaがあなたにお礼のパワーを送り返すらしいですよ!!

ポチポチポチポチポチポチポチ
ポチ (∩`・ω・) ポチポチポチ
 _/_ミつ/ ̄ ̄ ̄/
   \/___/ ̄ ̄
↑PC画面の向こうのあなた(想像図)

※1日1回まででお願いします。私もそう若くないので。














拍手[23回]

PR

コメント

1. 無題

先週モニタリングの為検査結果をしてました。検査結果を聞いて帰る為25日まで滞在してました。。
5月以降に脳梁離断術をする事になりました‼頭だけに不安ですが頑張りたいと思います。

Re:無題

明日香mamaさま

コメントありがとうございます!お会いできませんでしたね~、うちは21日までおりました。また機会あれば声かけてくださいね!

離断決まったんですね。心配な事たくさんあると思いますが、しっかり納得して手術に挑めること祈っております!
手術は怖かったですが、ももぞうは受けて良かったと思っています。お子さん(お子さんのお名前が明日香さん、で合ってますか?)も良い転機になりますように!

ブログ内検索

最新コメント

プロフィール

HN:
momomama
性別:
女性
職業:
会社員
趣味:
料理・読書・昼寝
自己紹介:
愛娘“ももぞう”は、2013年10月生まれ。生後5カ月でウエスト症候群(点頭てんかん)を発症し、現在も闘病しています。

♡好きな言葉♡
高い壁を乗り越えたとき、その壁はあなたを守る砦となる。

忍者カウンター

ブログランキング参加中!